• IP BLAWG

    Smoke Gets in Your Pipe

    Beverly A. Berneman
    4/1/25

    In Brief:  Patent eligibility depends on whether the invention is “new”.

    Read More
  • IP BLAWG

    Enabling Inventors

    Beverly A. Berneman
    4/3/24

    In Brief:  Inventorship can be based on unclaimed improvements that are necessary for enabling the invention to work.

    Read More
  • IP BLAWG

    Timekeeping is the Same Whether by Quill or Computer

    Beverly A. Berneman
    2/7/24

    In Brief:   Abstract ideas for time tracking software are not patentable.

    Read More
  • IP BLAWG

    Patent Inventors are Coiled Together

    Beverly A. Berneman
    12/14/23

    In Brief:  Joint inventorship can be based on designs disclosed during an investment pitch.

    Read More
  • IP BLAWG

    Bringing Home the Patent Bacon

    Beverly A. Berneman
    7/26/23

    In Brief:  A named inventor has to make a significant contribution to the claims in a patent.

    Read More
  • IP BLAWG

    Patented Stylist Has a Wardrobe Malfunction

    Beverly A. Berneman
    4/25/23

    In Brief:   Automating how to choose an outfit is not patentable subject matter.

    Read More
  • IP BLAWG

    Stop in the Name of a Patent Assignment

    Beverly A. Berneman
    3/14/23

    In Brief: An inventor can’t claim their invention is invalid after an assignment.

    Read More
  • IP BLAWG

    A Thicket of Patents is Not Antitrust

    Beverly A. Berneman
    9/20/22

    In Brief:  Holding a lot of patents that extend the life of an original patent isn’t’ a monopoly.

    Read More
  • IP BLAWG

    The Devil is in the Patent Assignment Details

    Beverly A. Berneman
    3/1/22

    In Brief:  An agreement stipulating the rights in a patent is not a present assignment of a patent.

    Read More
  • IP BLAWG

    Spinal Fusion

    Beverly A. Berneman
    12/14/21

    In Brief: Generally, a patent has to disclose all enabling features of the invention. However, an invention can be partially protected by a patent and partially protected by trade secrets.

    Read More
  • IP BLAWG

    Bankruptcy Doesn’t “Un-Terminate” a Patent License.

    Beverly A. Berneman
    5/25/21

    In Brief:  Terminating a patent license prior to the filing of a bankruptcy doesn’t result in an avoidable fraudulent transfer.

    Read More
  • IP BLAWG

    Sometimes, It’s What You Don’t Say

    Beverly A. Berneman
    3/2/21

    The US Supreme Court won’t be weighing in on some interesting cases in the world of IP. Here are just a few of them by topic:
    Copy

    • rights in Fictional Characters
    • Right to Challenge Patents
    • Trademarks
    Read More
  • IP BLAWG

    “Delivery Failed” Has Been Ghosted

    Beverly A. Berneman
    9/22/20

    The US Supreme Court decision in Alice Corp. v. CLS Bank International held that abstract ideas cannot be patented. Electronic Communication Technologies, LLC (“ECT”) is the one of latest patent holders to feel a ghostly pinch from Alice.

    Read More
  • IP BLAWG

    These Are Not the Patent Droids You Are Looking For

    Beverly A. Berneman
    8/11/20

    The US Patent Office (“USPTO”) has bad news for CP30, R2D2 Wall-E and all of their robot friends. They don’t qualify as an inventor of a patent.

    Read More
  • IP BLAWG

    That’s Obvious

    Beverly A. Berneman
    11/5/19

    TiVo is a television digital recording device (“DVR”). TiVo has search functions that allow the user to search broadcast and streaming television programs and schedule recordings for later viewing. TiVo acquired another company that it spun off as a subsidiary named Veveo. Through the acquisition, Veveo picked up a series of patents, one of which was a digital search system. The patent described the invention as a system for associating characters entered into a search bar with numerical identifiers and linking search targets, such as digital files, with digital combinations. You don’t have to know what that means. Just know that robust search capabilities would allow TiVo to surpass competitors like Comcast.

    Read More
  • IP BLAWG

    Casino Dice Game Patent Application Had No Luck

    Beverly A. Berneman
    3/26/19

    Marco Guldenaar Holding BV filed a patent application for a casino dice game. The claims in the patent covered unique markings on the dice and the rules of the game. Guldenaar Holding threw snake eyes when the United States Patent and Trademark Office rejected the application and the rejection was affirmed on appeal to the Federal Circuit of Appeals.

    Read More
  • IP BLAWG

    Confidentially Speaking or Not Speaking

    Beverly A. Berneman
    1/29/19

    Breaking attorney-client privilege can open a floodgate of information in infringement litigation.

    Read More
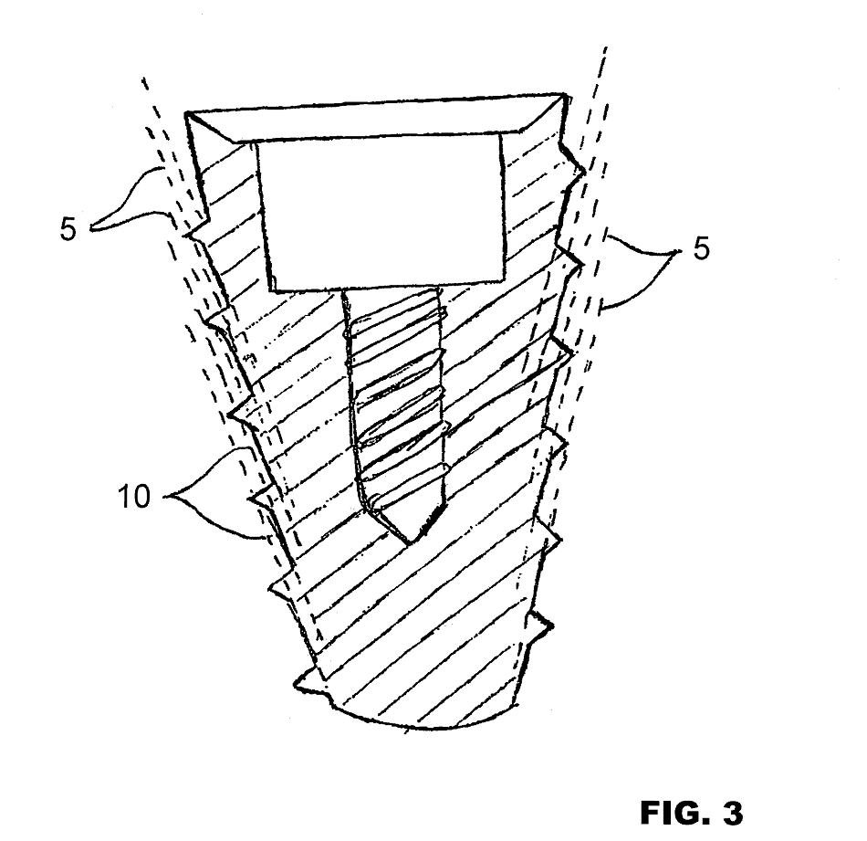
  • IP BLAWG

    Risky Trade Show Business

    Beverly A. Berneman
    11/13/18

    Trade show materials may be a patent buster. %CUT% Trade shows are a way to showcase products and innovations in an industry. Materials distributed at a trade show are usually promotional and are designed to get more sales and establish a beacon in the marketplace. But, trade materials that identify inventions could bust a patent. The US Patent Trial and Appeal Board (the “Board”), in an inter parties review (“IPR”) between Nobel Biocare Services AG v. Instradent USA, Inc., held that certain claims in Nobel’s patent for a dental implant screw were not patentable because they were anticipated. “Anticipated” is similar to “prior art” which means that the claimed invention isn’t new. Instradent, the IPR petitioner, argued that Nobel’s invention for a dental implant screw had already been disclosed in a product catalogue from Alpha-Bio Tech Ltd. (“ABT”). Instradent proved that ABT disclosed the product in a catalogue it distributed at a 2003 dental trade show in Cologne, Germany. ABT had a rather small booth at the show and not much of a presence. But people at the trade show had seen the catalogue. So it was considered publication of the prior art. On appeal, the Federal Circuit affirmed the Board’s determination that the ABT catalogue was prior art and so some of Nobel’s claims in the patent were not patentable.

    Read More
  • IP BLAWG

    Hey, That Was My Invention

    Beverly A. Berneman
    10/9/18

    Inventor identification gets lost in the haze of a patent application for a cannabis delivery system. %CUT% Michael Pappalardo met Samantha Stevins at a pharmaceutical products trade show. Michael told Samantha about his concept for a new product related to liquid and solid cannabis delivery systems. They agreed to work on it together. Samantha, who is an attorney, suggested that they apply for a patent. When Michael found out that Samantha had named herself as the sole inventor on the patent, he brought suit to add his name as an inventor. The Federal Circuit affirmed the district court’s dismissal of Michael’s case. The court held that there is no cause of action to challenge inventorship until a patent issues. So Michael will have to wait until then to file suit.

    Read More
  • IP BLAWG

    Patent Turf Wars

    Beverly A. Berneman
    7/3/18

    The Patent Office can invalidate a patent even if a court did not. %CUT% Oils States Energy LLC won a patent infringement judgment against Green Energy Group LLC. But then, the Patent Trial and Appeal Board (“PTAB”) invalidated the patent leaving Oil States emptyhanded. Oil States appealed arguing that the PTAB, an Article III (of the US Constitution) administrative tribunal, couldn’t come out differently from an Article I court. The US Supreme Court decided against Oil States. SCOTUS held that patents are a “public right”. They are a public franchise granted by the government to the owner of the patent for a period of 20 years. So, the administrative body can determine patent validity without paying homage to a different decision by a federal court.

    Read More
  • IP BLAWG

    There Wasn't a Dry Eye in the PTAB

    Beverly A. Berneman
    5/8/18

    Selling a patent doesn’t extend its limited life. %CUT% Allergan, Inc. owned the patents for Restasis which treats severe dry eyes by producing tears. The terms of the patents were about to expire. So, Allergan “sold“ the patents to the Saint Regis Mohawk Tribe and who then licensed all of the rights relating to the patents back for millions in upfront and annual royalties. In an IPR between Mylan Pharmaceuticals and Allergan, the Tribe unsuccessfully tried to dismiss the proceedings based on sovereign immunity. The PTAB’s decision had several important points which all seemed to spring from the PTAB’s view that any rights the Tribe had were “illusory”. First, it held that Allergan’s exclusive rights to the patent under the license from the Tribe were irrevocable and lasted only until the patents expired or are invalidated. Second, since Allergan retained the right to sue, the Tribe had no interest in the proceedings. Third, sovereign immunity is not a defense to IPR proceedings.

    Read More
  • IP BLAWG

    Will Assign Doesn’t Mean Did Assign

    Beverly A. Berneman
    4/24/18

    Agreeing to assign a patent in the future isn’t an assignment at all. %CUT% Three co-inventors of a patent were employed by Company A. The co-inventors signed an employment agreement stating they “will assign” their rights to any patentable invention they created during their employment. Company A transferred its assets to Company B. Only two of the inventors assigned their patent rights to Company B. Based upon the employment agreement between the original company and the third inventor, the USPTO allowed Company B to prosecute the patent without the third inventor actually assigning the patent. Company B dissolved and its assets were transferred to Advanced Video Techs, LLC. Advanced Video then brought a patent infringement suit against HTC Corp. The district court dismissed the case holding that Advanced Video didn’t have standing to bring a patent infringement suit without joining the non-assigning inventor in the suit. On appeal, the Federal Circuit Court of Appeals affirmed the decision that Advanced Video didn’t have standing. The Federal Circuit reasoned that the agreement to assign something in the future, is not an assignment. The third co-inventor only promised to assign a future patent so she still had part ownership of the patent and had to be a party to the infringement suit.

    Read More
  • IP BLAWG

    First Sale Can Make You Feel Nauseous

    Beverly A. Berneman
    1/23/18

    If you want a patent, be careful about when you make your first sale. %CUT% Helsinn Healthcare S.A. applied to patent a formula that would reduce nausea and vomiting resulting from chemotherapy. When it sued Teva Pharmaceuticals USA Inc. for patent infringement, Teva argued that the patent was barred because Helsinn sold the formula more than a year before it applied for the patent. The Patent Act bars the patentability of an “invention [that] was patented, described in a printed publication, or in public use, on sale, or otherwise available to the public before the effective filing date of the claimed invention.” An invention is made available to the public when there is a commercial offer or contract to sell a product embodying the invention and that sale is made public. There was no question that Helsinn had entered into a distribution agreement more than a year before the patent application. So the issue was whether the agreement between Helsinn and its distributor was a “sale” which would bar the patent. The Federal Circuit Court of Appeals ruled that the sale to the distributor qualified as a commercial sale that would bar the application.

    Read More
  • IP BLAWG

    A Sharp Stick in the Shoulder

    Beverly A. Berneman
    10/3/17

    Prior art can stop a patent. %CUT% Dr. Steven Chudik sought to patent an implant for a portion of the humerus bone that would be utilized as part of shoulder replacement surgery. The Patent Trial and Appeal Board held that a French patent barred issuance of the patent as prior art. The Federal Circuit affirmed. So Dr. Chudik won’t be getting a patent.

    Read More
  • IP BLAWG

    Abstract Doesn’t Equal A Patent

    Beverly A. Berneman
    4/25/17

    Abstracts are nice in visual arts but not in patents. %CUT% Before Alice Corp. v. CLS Bank International, about 30% of software patent applications were invalidated. After Alice, the statistic is up to about 80%. Another one just went down. In Clarilogic, Inc. FormFree Holdings Corp., the Federal Circuit Court of Appeals affirmed summary judgment for the plaintiff to invalidate the defendant’s patent for credit reporting software. The Court ruled that the software "is directed to the abstract idea of gathering financial information of potential borrowers." The patent used computers to automate a fundamental financial information process without identifying any particular algorithm engine.

    Read More
This website uses cookies to enhance your browsing experience and provide you with personalized services. By continuing to use this site, you consent to the use of cookies. See our Terms of Engagement to learn more.
ACCEPT